Главная страница
ИМС НЕВРОНЕТ
>Библиотека
ИМС НЕВРОНЕТ
>Справочник Харрисона по внутренним болезням

Глава 17

Отеки

Определение

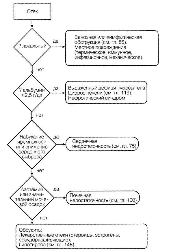
Припухлость тканей в результате патологического увеличения объема интерсти-циальной жидкости. Отечная жидкость является транссудатом плазмы, накапливающимся при усилении перехода жидкости из сосудистого русла в интерстициаль-ное пространство. Заметный общий отек у взрослого означает накопление в организме 3 или более литров жидкости, скорее всего в результате задержки соли и воды почками. Распределение отеков по тканям может указать на их причину.

Местный отек привязан к определенному органу или участку сосудистого русла, легко отличим от генерализованного отека. Изолированный отек конечности обычно связан с венозной или лимфатической недостаточностью (тромбоз глубоких вен, первичный лимфатический отек, нарушение оттока из-за роста опухоли). При параличе нижней конечности отек может развиться в результате стаза. Аллергические реакции (ангионевротический отек) и обструкция верхней полой вены служат причинами локального отека лица. Двусторонний отек нижних конечностей может также иметь местные причины; например, обструкция нижней полой вены, сдавление ее асцитом или опухолью в брюшной полости. Асцит (жидкость в брюшной полости) и гидроторакс (жидкость в плевральной полости) могут выглядеть как локальный отек в результате воспаления или роста опухоли.

Общий (генерализованный) отек - припухлость тканей в большинстве или во всех отделах организма. Двусторонний отек нижних конечностей, более выраженный после пребывания в течение нескольких часов в положении стоя, а также отек легких обычно имеют кардиальное происхождение.

Периорбитальный отек отмечается при пробуждении больного, часто вызван поражением почек и нарушением экскреции натрия. Асцит, отек нижних конечностей и мошонки нередко отмечаются при циррозе печени и хронической сердечной недостаточности. В последнем случае снижение сердечного выброса и минутного объема кровообращения ведет к уменьшению кровотока через почки и увеличению венозного давления с результирующей задержкой натрия почками из-за почечного сосудистого спазма, перераспределения внутрипочечного кровотока и вторичного гиперальдостеронизма.

При циррозе печени артериовенозные шунты уменьшают эффективный почечный кровоток, что ведет к задержке натрия. Асцитическая жидкость накапливается, когда увеличенное сосудистое сопротивление вызывает портальную гипертен-зию. Снижение содержания альбумина в сыворотке крови и повышенное внутри-брюшное давление ведут к отеку нижних конечностей.

При нефритическом синдроме выраженная потеря альбумина через почки снижает онкотическое давление плазмы, способствуя транссудации жидкости в интер-стициальное пространство; уменьшенный МОК стимулирует задержку натрия почками.

При острой или хронической почечной недостаточности отек возникает, если поступление натрия превышает способность почек к его экскреции из-за выраженного снижения гломерулярной фильтрации. Тяжелая гипоальбуминемия (<25 г/л) любого происхождения (например, нефротический синдром, дефицит питания, хроническое заболевание печени) может снизить онкотическое давление плазмы до такой степени, чтобы вызвать отек.

Более редкие причины общего отека: идиопатический отек - синдром повторного увеличения массы тела и отека у женщин в половозрелом возрасте; гипоти-реоз - микседематозный отек типично располагается в нижних отделах голеней; прием стероидов, эстрогенов и сосудорасширяющих средств; беременность; восстановительный период после голодания.

Лечение

Первичное лечение заключается в установлении и устранении причины отека (рис. 17-1).

Ограничение количества поступающего с пищей натрия (<500 мг/сут) может предотвратить дальнейшее прогрессирование отека. Постельный режим увеличивает благоприятную реакцию тканей на ограничение поступления поваренной соли при циррозе печени и хронической сердечной недостаточности. Эластичные чулки и возвышенное положение отечных конечностей помогает мобилизовать интерстици-альную жидкость.

При выраженной гипонатриемии (< 132 ммоль/л) больному следует уменьшить прием жидкости до 1500 мл/сут. Диуретики (табл. 17-1) показаны при выраженных периферических отеках, отеке легких, ЗСН, неадекватном ограничении поваренной соли в диете. Побочное действие диуретиков приведено в табл. 17-2. Снижение массы тела при их применении не должно превышать 1-1,5 кг/сут. Метолазон может быть добавлен к петлевым диуретикам для повышения эффекта. Отметим, что отек стенки тонкой кишки может снизить абсорбцию оральных диуретиков и их эффективность. Когда желаемая масса тела достигнута, дозу диуретиков снижают.

При ЗСН (см. гл. 75) следует избегать применения значительных доз диуретиков, так как это может вести к снижению МО и преренальной азотемии. Необходимо избегать спровоцированной диуретиками гипокалиемии, что усиливает вероятность интоксикации сердечными гликозидами.

При циррозе печени спиронолактон - препарат выбора, но он ведет к ацидозу и гиперкалиемии. Рекомендуются тиазиды или небольшие дозы петлевых диуретиков. Следует учесть, что почечная недостаточность провоцируется уменьшением ОЦК. Чрезмерная стимуляция диуреза вызывает гипонатриемию и алкалоз, что может спровоцировать печеночную энцефалопатию (см. гл. 119).

При нефротическом синдроме внутривенное введение альбумина следует применять ограниченно в самых тяжелых случаях (у больных с сопутствующим снижением АД), поскольку быстрая экскреция белка почками препятствует повышеник концентрации альбумина.


17-1.jpg

Рис. 17-1. Диагностический подход к отеку.


Таблица 17-1 Применение диуретинов при отеке (см. также табл. 17-2)
 

Препарат
Терапевтическая доза
Примечания
ПЕТЛЕВЫЕ (МОГУТ БЫТЬ НАЗНАЧЕНЫ ВНУТРЬ ИЛИ  ВНУТРИВЕННО)
Фуросемид
40-120 мг 1-2 раза в сутки
Короткого действия; эффективен при снижении клубочковой фильтрации
Буметанид
0,5-2 мг 1-2 раза в сутки
Может быть применен при аллергии к фуросемиду
Этакриновая кислота
50-200 мг 1 раз в сутки
Более длительного действия
ДИСТАЛЬНЫЕ КАНАЛЬЦЫ, КАЛИЙТЕРЯЮЩИЕ
Гидрохлортиазид
25-200 мг
Диуретик первой очереди; может вызвать гипокалиемию; применяют при клубочковой фильтрации выше 25 мл/мин
Хлорталидон
100 мг ежедневно или через день
Длительного действия (до 72 ч); может вызвать гипокалиемию, применяют при клубочковой фильтрации выше 25 мл/мин
Метолазон
1-10 мг ежедневно
Длительного действия; может вызывать гипокалиемию, эффективен и при низкой клубочковой фильтрации, особенно при сочетании с петлевыми диуретиками
ДИСТАЛЬНЫЕ КАНАЛЬЦЫ, КАЛИЙСБЕРЕГАЮЩИЕ
Спиронолактон
25-100 мг 4 раза в сутки
Гипергликемия; ацидоз; блокирует альдостерон; гинекомастия, импотенция, аменорея; начало действия через 2-3 дня; избегать применения при почечной недостаточности или в комбинации с ингибиторами АПФ или на фоне введения калия в организм
Амилорид
5-10 мг 1-2 раза в сутки
Гиперкалиемия; эффект развивается в день приема, менее активен чем спиронолактон
Триамтерен
100 мг 2 раза в сутки
Гиперкалиемия, менее активен чем спиронолактон, провоцирует образование камней в почках

Таблица 17-2 Нежелательные эффекты при применении диуретинов
 

Обычные
Редко встречающиеся
Уменьшение ОЦК
Преренальная азотемия
Уменьшение содержания калия
Гипонатриемия (тиазиды)
Метаболический алкалоз
Гиперхолестеринемия
Гипергликемия (тиазиды)
Гиперкалиемия (калийсберегающие диуретики) Гипомагниемия
Повышение содержания в крови мочевой кислоты Гиперкалыщемия (тиазиды)
Жалобы на расстройство деятельности системы пищеварения
Сыпь (тиазиды)
Интерстициальный нефрит (тиазиды, фуросемид) 
Панкреатит (тиазиды)
Снижение остроты слуха (петлевые диуретики) 
Анемия, лейкопения, тромбоцитопения (тиазиды)

 

Главная страница

 
Информационная медицинская сеть НЕВРОНЕТ